
■POINT
・新たな進化を遂げたFuture Impactの第4世代のコンパクトバージョン
・99プリセット、デスクトップエディタで詳細な設定可能
・6弦ベースに加え、ギターやキーボードにも対応
知名度:3
マニア度:4
Future Impact VIPは、圧巻のベース・ギターシンセペダル、Future Impact V4のコンパクトバージョンです。
125×85×60mm、330gという小さなサイズに、Future Impact V4の全ての機能を詰め込みました。
pandaMidi Solutions Future Impact VIPは、最高峰のギター/ベースシンセペダルです。
最も革新的なシンセサイザーペダルの世界へようこそ。
最高峰のキーボードシンセサイザーのパワーと多用途性を全て網羅し、それをコンパクトでポータブルなペダルタイプのスタイルに詰め込みました。楽曲制作のインスピレーションや別世界のようなサウンドを生み出すことができます。
伝説的なレコーディングで聞くことのできるようなクラシックなシンセサイザーサウンドもカバーしています。
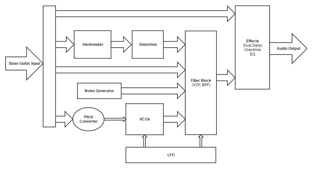
最高峰のシンセペダル、Future Impact VIPは驚異的なサウンドレンジを持つ圧倒的なシンセペダルです。ベース、リード、パッドなどのシンセサイザーサウンドに加え、オクターバー、コーラス、フランジャー、フェイザー、ディストーション、エンベロープフィルター、ワウ、トレモロ、リバーブエフェクトペダルとしても機能し、ビルトインチューナーも備えます。
さらに、演奏したノートをCV/Gateから出力し、外部シンセサイザー機器を動作させることも可能です。
強力なシグナルプロセッサーによりクラシックシンセサイザーにある様々なオシレーター、フィルター、アンプ、エンベロープジェネレータブロックを再現し、ハーモナイザーブロック、コーラス、ディストーション、EQなどのオーディオエフェクトを加え、楽器のサウンドを処理するシグナルプロセッシングブロックもあります。これらのブロックを柔軟かつ相互に補完することができます。
Future Impact VIPはモノフォニックシンセサイザーです。オシレーターは和音には反応しませんが、オシレーターを使用せずエフェクトとして使用する場合は和音にも対応しています。
99のユーザープログラムはすべてデスクトップエディタ(Windows・Mac OS Xで使用可能)で編集できます。プログラムはMIDIコネクタ経由でコンピュータと接続し、プログラムの保存、ロード、アーカイブができます。エディタソフトウェアは無料でダウンロードでき、サウンドプログラム共有も可能です。
ソフトウェアアップデートはMIDI INからFuture Impact VIPにアップロードできます。
フル機能のアナログモデリングシンセサイザーが内蔵されているため、MIDI INにキーボードコントローラーやコンピュータを接続し、モノフォニックハードウェアシンセサイザーモジュールとして使用することもできます。
●Future Impactの進化
Future Impactの歴史は、2014年後半に遡ります。世界的なベースフォーラムの熱心なメンバーが、かつて伝説となったベースシンセペダル“Deep Impact”開発者のアンドラーシュ・サライ氏を探し出し、Deep Impactを再販できないかと訪ねました。アンドラージュ氏は、Deep Impactの再販ではなく、全く新しく大幅に改良されたペダルを考えました。このプロジェクトは多くの人気を集め、クリス・ウォルステンホルム、ダグ・ウィンビッシュ、ブーツィー・コリンズなどの世界的なベーシストも反応しました。オンラインのベースコミュニティにより、Future Impactが始まったのです。
発売以降もFuture Impactは更新を重ね、多くの改良が加えられました。2021年6月、Future Impact V3.6へのアップデートで、利用可能な全てのコードスペースを使い果たしました。
さらにアイディアを発展させるため、Future Impact VIPでは新しいハードウェアに以降し、新しいファームウェア構造を実装しました。Future Impact VIPはそれ以前の全てのパッチを使用することができますが、V3ではV4のファームウェアやパッチを使用することができません。
●Future Impact VIPの新機能
Future Impact VIPにはこれまでの超多機能なFuture Impactシリーズをはるかに超える革新的な新機能を搭載しています。
・新しく改良された32ビットA/D/Aコンバータによるローノイズかつ高品質なサウンド
・オーディオおよびMIDIインプットから1V/octaveアナログシンセサイザーを駆動するCV/Gateアウトプット
・高い耐久性を実現するための、ソリッドメタルによる頑丈なノブ
・パラメータダイヤルが拡張され、サウンドバリエーションがさらに拡大
・優れたピッチトラッキングによりレイテンシを短縮し、感度を向上
・複雑なハーモニックサウンドを作るOscillator Sync
・ペダルでのエディットをパッチデータに保存可能
・オーディオトリガーサウンドの完全なADSRサイクルによるロングトーン
・63の新しいFlexiカーブ
・オンザフライのオクターブ移調
・midiBeam 4Cと完全に統合
・ワークフローが改善されたエディタソフトウェア
・エディタソフトウェア内のオンスクリーンModホイール
●主な機能
・99種類の音色をオンボードに保存可能。エディタを使用すればさらに多数の音色の保存も可能
・オーディオシグナルまたはMIDI対応デバイスでトリガーされるシンセサイザー
・6弦ベースとギターをカバーする超速かつ正確なピッチトラッキング
・1V/octaveアナログシンセサイザーを同時にトリガー
・様々な楽器に対応する広いインプットレンジとオシレーターレンジ
・SAW、スクエア、トライアングル波形を設定できる4つのVCO
・VCA、VCF用のADSRエンベロープ
・ノイズソース用ADエンベロープ
・4つのFlexiコントローラーによる強力なリアルタイムモジュレートマトリックス
・自在に並べ替えのできるEQ、オーバードライブ、コーラス、ディレイエフェクト
・ローパス、バンドパス、ハイパス、ノッチモードを選択できるレゾナントフィルター
・12dB/oct、24dB/octフィルターストップ
・セカンドパラレルバンドパスフィルター
・VCO、VCF用グローバルLFO
・10個の追加LFO(SAW、スクエア、トライアングル、S&H)
・追加LFOのうち5つはMIDI同期可能
・LFO、フィルター、ボリューム、サステインなどのパラメータをMIDIエクスプレッションからコントロール
・3ボイスハーモナイザー、2ボイスはトランスポジション可能
・インプットとハーモナイザーシグナルにかけられるハイクオリティディストーション
・オーディオをシンセトリガーから切り離し、ベース・ギターを演奏しながらMIDIトリガーが可能
・ビルトインチューナー
・スタンダードセンターマイナスDC9V/200mAで駆動
・ラージ3ディジットディスプレイ
・99の音色に本体のみでアクセス可能
・高耐久性メタル筐体
・フルサイズMIDI IN、OUTポート
・リレースイッチ、トゥルーバイパス
●Future Impact VIPのセットアップ
ベース・ギターをINPUTに接続します。OUTPUTにアンプを接続します。
安定化されたセンターマイナスDC9Vアダプタ(200mA)をDC 9V端子に接続します。
電源を入れると、ディスプレイにファームウェアバージョンが1秒間表示されます。
次に楽器のモードが1秒間表示されます。デフォルトはベース(bSS)です。
最後にディスプレイにバンクとプログラム番号が表示されます。
ON/OFFスイッチ(右側)を押してFuture Impact VIPをONにします。ON LEDが点灯します。
INPUT LEVELノブで音量を調整します。強く演奏した時に赤いLEDが短く点灯する程度に調整します。
必要に応じてOUTPUT LEVELを調整します。
※Future Impact VIPはトゥルーバイパスのため、レベル表示はエフェクトON時にのみ機能します。
●Future Impact VIPのオペレート
Future Impact VIPには99のプリセットが10のバンクに分かれて収録されています(バンク0は9プリセット、バンク1~9は各10プリセット)。これらのバンクはEDITノブをプッシュすることでバンクが上昇し、バンク9まで行くと0に戻ります。さらに、EDITダイヤルをプッシュしながら回せば素早くバンクを選択することができます。
バンク内のプログラムは、PROGRAMフットスイッチ(左側)を押して選択します。フットスイッチを押すとプログラムナンバーが上昇し、PROGRAMフットスイッチをダブルタップすることでプログラムナンバーを下降します。PROGRAMフットスイッチを使用する場合、バンクの境界はありません。プログラム99の次は01に戻ります。
●Future Impact VIPをプレイする
Future Impact VIPは24フレット、6弦ベースおよびエレキギターの音域をトラッキングしますが、正しく機能させるにはクリアなモノフォニックノートを入力する必要があります。コードの演奏やスラップ、タッピング、ミュート演奏をするとグリッチが発生したり、ピッチが正確に反映されないことがあります。ピッチトラッキングが正確に機能するよう、音と音の間のミュートには十分に注意してください。また、選択したインストゥルメントモードのピッチ範囲外で使用すると予期しない音となる場合があります。
※グローバルメニューで適切な楽器モードを選択してください。
●Tuner
ON/OFFフットスイッチを0.8秒長押しすることでチューナーを起動することができます。1.8秒以上長押しするとグローバルメニューに入りますので、その前にフットスイッチを離します。
チューナーが起動すると、アウトプットがミュートされます。
チューナーは再度ON/OFFフットスイッチを押すことで終了します。
チューナーは専用のMIDIコマンドからON/OFFすることもできます。
ディスプレイには、1文字目に現在の音程に最も近い音程が、2文字目は#の有無が表示され、3文字目に音のずれを示すラインが表示されます。
●サウンドのエディット
好みの音色を選択しても、それがそのまま楽曲に使えるとは限りません。そのため、本体のノブを使って主要なパラメータを調整することができます。Parameterノブでは、9種類のパラメータの中から変更したいパラメータを選択できます。
・Note Off Level:インプットシグナルのスレッショルドを設定します。この値を下回るとシンセサイザーの音が停止します。低くするとノートが長く持続し、高くするとスタッカートが明瞭になります。全てのプログラムに共通するグローバルパラメータです。
・Note On Level:トリガリングのセンシティビティを調整します。弱いアタックでエフェクトが反応しない時は低く、意図しない音がトリガリングされる時は高く設定します。全てのプログラムに共通するグローバルパラメータです。
・Attack:音が変わる際のフェードインタイムを設定します。
・Decay:サステインノート中のフィルターのディケイタイムを調整します。
・Envelope Depth:音の輪郭の明るさやスムースさを調整します。
・Dynamics:ダイナミックなプレイに対するレスポンスを調整します。
・Cutoff:フィルターのかかったサウンドの明るさを調整します。
・Resonance:音のシャープさやスムースさを調整します。
・Balance:ベースサウンドとシンセサウンドのバランスを調整します。
・Level:サウンドのアウトプットレベルを調整します。Output Levelノブとは別の設定です。
・Effects:サウンドに加えるエフェクト量を変更します。
●エディタ
PC/MacとMIDIインターフェイスを介して接続すれば、サウンドプログラムを詳細にコントロールし、プリセットの読み込みや保存が可能となります。エディタを使用すると、100以上のパラメータを全てコントロールすることができます。さらにサウンドプログラムの管理や共有、ダウンロードも可能です。
●スペック
・サイズ:125×85×60mm
・重量:330g
・電源:レギュレートされた2.1mmバレルタイプ センターマイナスDC9Vアダプター(100mA以上)
・トゥルーバイパス(リレースイッチ)
・スーパーハイパフォーマンスDSP
・全てのアルゴリズムは32bitで動作
・24bit AD/DAコンバータ
・512kHzオーバーサンプリングのオシレーター
・128khzオーバーサンプリングのディストーション
●特徴
・24フレットの4弦、5弦、6弦ベース、6弦ギターの全てのレンジをカバー
・99プログラム(バンク0は9プログラム、バンク1~9は各10プログラム)
・プログラム21~29はDeep Impact SB1を再現
・Editor Suiteエディタソフトウェアで詳細にサウンドデザインが可能
・主要なサウンドパラメータは本体から操作可能
・フリーサウンドライブラリ
・MIDIからファームウェアアップデート可能
・ファームウェアアップデートは無料
●MIDIエキスパンダー
・Fixed Time、Fixed Rateを選択できるポルタメント
・MIDIチャンネル、ピッチベンドレンジ、オクターブトランスポジションセッティング
・Trigger/Gateモード
・キープライオリティ:Lower、Upper、First、Last
・VCO4 LFO、DELAY1 LFO、DELAY1+2 LFOはMIDIクロック同期可能
●CV機能
・MIDIアウトプットから1V/Octaveおよび5V/3.3Vゲートアウトプット(別売りのアダプターケーブルを使用)
・スケールとファインオフセットキャリブレーション
・オクターブおよび半音オフセット
●エフェクト
・ベース、ギターサウンド、またはシンセサイザーサウンドはそれぞれエフェクトへと接続
・コーラス、ディレイ(クロック同期可能)、フランジャー、スラップバック、リバーブ、オーバードライブ、4バンドパラメトリックイコライザーエフェクト
※Future Impact VIPはFuture Imact Iおよびv3からアップデートすることはできません。古いバージョンで作成したプログラムをロードすることはできますが、V4で作成したプログラムを古いバージョンでロードすることはできません。
種類:シンセ
アダプター:9Vセンターマイナス
電池駆動:-
コントロール:Input、Output、Parameter、Edit/Bank Up、Programスイッチ、ON/OFFスイッチ
【pandaMidi Solutions】
pandaMidi Solutionsは、伝説のベースシンセサイザー、“Deep Impact SB1”の回路設計を行ったアンドラーシュ・サライ氏によるハンガリーのブランドです。
Deep Impact直系の後継機種にあたるFuture Impact Iを始め、高い技術力と研究によりハイクオリティな機器の開発を行っています。